Обновлено: 16:40, 24.01.26
|
Событие

Sony запатентовали ИИ, который может проходить игры самостоятельно

Sony подали патент на ИИ, способного проходить игры самостоятельно

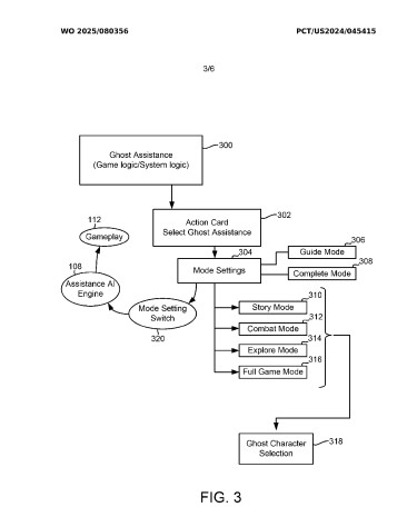
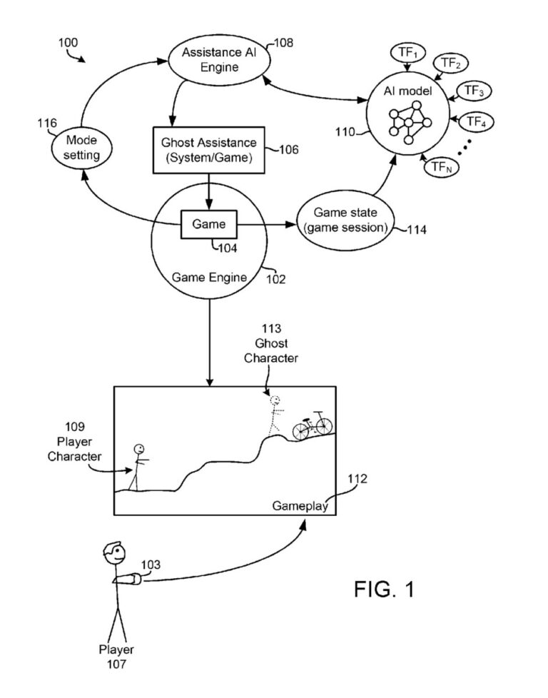
Sony подали патент на технологию, позволяющую играм на PlayStation частично или полностью проходить себя с помощью искусственного интеллекта. Об этом сообщает издание Video Games Chronicle со ссылкой на патентную документацию.



Система под названием Ghost Player создаёт ИИ-версию персонажа пользователя. Её можно вызвать в сложный момент, а сам "призрачный игрок" способен либо подсказать решение конкретного участка уровня, либо полностью пройти его вместо игрока. В качестве примера в патенте приводится серия Uncharted: ИИ-версия Нейтана Дрейка может показать, как пройти головоломку в режиме проводника, а в альтернативном режиме выполнить все действия за пользователя целиком. При этом в документе не уточняется, появится ли технология в будущих играх или устройствах Sony.

Комментарии
Реклама 18+